概述
傳統的變電站運維管理方式,主要依靠配電運維人員的實際經驗和技術能力水平,大多數處理方式是事后處理問題,對用電的隱患沒有提前及時發現處理,給企業生產帶來不必要的損失。
隨著新一輪電力體制改革深入開展,國家對電力需求側管理工作也是在穩步推進,工業部和信息部印發《工業企業實施電力需求側管理工作評價辦法(試行)》,夯實工業領域電力需求側管理工作基礎。企業對電能的精細化管理需求日益高漲,一方面提升企業內部自身的管理能力,同時響應國家電力需求側管理,降低企業用電成本,提高經濟效益。售電公司引入市場競爭,讓傳統的電力市場壟斷逐步被打破,微電網、分布式發電已成為新的趨勢。
參考標準
GB50052-2009 《供配電系統設計規范》
GB50054-2011 《低壓配電設計規范》
GB2887-2000 《電子計算機場地通用規范》
GB/T 13729-2002 《遠動終端設備》
GB/T 50063-2008 《電力裝置和電測儀表裝置設計規范》
GB14285-2006 《繼電保護及安全自動裝置技術規程》
DL/T814-2002 《配電自動化系統功能規范》
DL/T721-2000 《配電自動化系統遠傳終端》
DL/T5003-2005 《電力系統調度自動化設計技術規程》
GB50395-2007 《視頻安防監控系統工程設計規范》
系統簡介
概述
電力遠程運維系統主要依托斯菲爾云憬智慧能源管理平臺,可實現對企業用戶電能精細化管理服務、變電室無人值守、節能分析服務等,通過現代物聯網技術,貫徹先進的管理理念和完善的管理體系用的手段使被動搶修徹底轉變為主動運維。
遠程運維主要基于云平臺服務實現電力監控、安防及門禁監控等,通過通訊管理機采集測控層智能監控設備(電力儀表、微機綜合保護裝置、煙感、溫感、門禁、攝像頭等),經過路由器網關設備將數據上傳至云平臺,整個系統采用B/S架構,客戶可通過web端或手機APP實時查看配電室的運行狀態,實現無人值守或少人值守。

硬件架構

主要分為測控層、傳輸層、應用層,測控層主要包含測控采集設備如電力儀表、微機綜合保護裝置、變壓器溫控儀、環境監控設備及視頻監控設備。傳輸層把測控層采集的數據通過移動運營商網絡或者互聯網接入方式上傳到云服務器。應用層為用戶提供顯示實時數據、報表等功能。
軟件架構

平臺主要架構分為采集層、聚合層、服務層及應用層。底層設備采集數據通過網關上傳至云平臺,平臺服務器基于DOCKER容器部署,根據客戶需求可后續增加新的業務內容,具有橫向擴展性,通過分布式服務器集群可并行處理海量數據,實時數據分析處理和存儲服務達到按需部署的要求,API系統集成功能供第三方平臺調用。
平臺特點
高可用性
軟件可跨平臺運行,支持Windows和Linux等主流操作系統。出現服務器故障或程序問題時保證業務正常訪問,避免出現單點故障。
橫向擴展性
隨著用戶業務需求增加,采用NoSQL非關系型數據庫,具有高并發數據處理能力,部署更便捷。
縱向伸縮性
根據客戶的實際要求按需部署,隨用戶接入的項目數及監控點數動態增加采集服務器、數據庫服務器和應用服務器保證計算能力。
數據安全性
傳輸層采用MQTT協議,所有上傳到云平臺的數據通過SSL/TLS認證加密方式,同時服務端采用身份驗證方式,保證數據安全。
設備易接入
可滿足客戶多設備接入(包括微機綜合保護、電力儀表、無功補償控制器、變壓器溫控儀、門禁系統、安防系統等),內置豐富協議可滿足常用Modbus-RTU、DLT645、IEC61850、IEC101/102/103/104等,如客戶有特殊協議可開發定制。
平臺功能

電力遠程運維平臺主要保障用戶用電安全、可靠、穩定為目標,結合多年實際現場運維經驗,主要包括用電分析、能效計算、配電室巡查、故障處理等功能,給用戶提供完善的電力監控系統、電氣火災監控系統、環境設備監控系統、安防監控系統等解決方案。
隨著新一輪電力體制改革深入開展,國家對電力需求側管理工作也是在穩步推進,工業部和信息部印發《工業企業實施電力需求側管理工作評價辦法(試行)》,夯實工業領域電力需求側管理工作基礎。企業對電能的精細化管理需求日益高漲,一方面提升企業內部自身的管理能力,同時響應國家電力需求側管理,降低企業用電成本,提高經濟效益。售電公司引入市場競爭,讓傳統的電力市場壟斷逐步被打破,微電網、分布式發電已成為新的趨勢。
系統功能
用電分析
每個站點的用電狀況,站點的變壓器容量、電能數據、最大負荷及需量、安全運行及告警顯示,快速了解站點用電狀況,也可對比同期用電,直觀體現用電趨勢。

報表統計及分析
對各回路運行數據統計,實時數據可用EXCEL格式導出,可提供歷史數據報表,電能分項報表,電能質量報表,日報表、月報表、季報表、年報表等,同時系統可生成如折線圖、柱狀圖等,直觀反映系統運行情況,滿足用戶不同需求,為后期節能改造服務提供基礎數據。

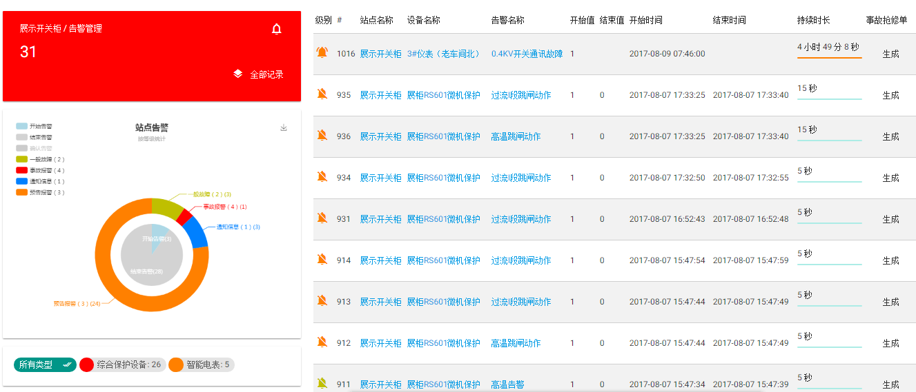
事件報警及記錄
對各個回路運行狀態實時監測,出現異常情況,立即提示并發出聲光報警,客戶可通過歷史記錄回溯進行事故分析。

視頻監控
通過現場安裝攝像頭設備,可實時監控配電房環境。大大提高運維工作人員效率,減少現場往返時間。

手機APP及短信報警
通過手機APP查看所有變電站的實時數據、狀態、報警事故信息,方便用戶隨時隨地對系統運行進行查看,同時可指定手機發送報警短信,確保信息不遺漏。
